#重庆莆田系民营医院名单查询系统简介
【重庆莆田系医院名单查询系统】
在追求医疗健康的过程中,您是否曾对某些医院的背景感到疑惑?现在,我们为您提供了一个全面且权威的重庆莆田系医院名单查询系统。此系统汇集了包括重庆都市丽人医院、重庆万州美妇产医院、重庆爱德华医院、重庆骑士医院在内的多家知名民营莆田系医院,旨在为公众提供透明、准确的信息。
通过我们的查询系统,您可以轻松获取关于这些医院的基本信息,包括但不限于医院名称、地址、联系方式等。我们致力于维护这一平台的完整性与准确性,确保每位用户都能获得最真实可靠的资讯。
此外,我们鼓励社会公众积极参与,通过在线查询系统补充和完善相关医院信息。您的每一次反馈都将帮助我们构建一个更加透明、公正的医疗环境,让每一位寻求医疗服务的市民能够做出更明智的选择。
无论是为了个人健康需求,还是出于对医疗行业的监督责任,我们都期待着您的加入,共同守护这片土地上每一个生命的安全与健康。
全国莆田系医院名单大全:
武汉莆田系医院名单:http://www.qqtn.com/down/113837.html
北京莆田系医院名单:http://www.qqtn.com/down/113842.html
上海莆田系医院名单:http://www.qqtn.com/down/113853.html
广州莆田系医院名单:http://www.qqtn.com/down/113867.html
深圳莆田系医院名单:http://www.qqtn.com/down/113875.html
天津莆田系医院名单:http://www.qqtn.com/down/113883.html
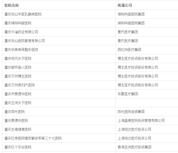
重庆莆田系医院名单大全:
医院名称所属公司代表人
重庆华山中医乳腺病医院坤如玛丽医院集团詹玉鹏
重庆坤如玛丽医院坤如玛丽医院集团詹玉鹏
重庆兴渝药业有限公司詹氏医疗集团
重庆华山医院管理有限公司詹氏医疗集团
重庆华美美莱整形医院西红柿医疗集团陈金秀
重庆现代女子医院博生医疗投资股份有限公司林玉明
重庆都市丽人医院博生医疗投资股份有限公司林玉明
重庆万州博生医院博生医疗投资股份有限公司林玉明
重庆万州美妇产医院博生医疗投资股份有限公司林玉明
重庆市爱德华医院华夏医疗集团翁国亮
重庆五洲女子医院黄德锋、黄开飞
重庆阳光医院阳光医院连锁集团
重庆爱德华医院上海盛康医院投资管理有限公司蔡兵洪
重庆生殖健康医院上海恒达医疗投资公司
重庆红楼医院雅安解放军第三十七医院上海恒达医疗投资公司
重庆红十字会医院香港亚洲医疗投资集团
重庆骑士医院
重庆爱德华妇产医院
武警重庆市消防总队医院
重庆北大阳光医院
重庆市消防医院
重庆红楼医院
重庆市黄泥磅医院
重庆莆田系医院名单线上查询系统使用:
1、进入莆田系医院名单在线查询系统:
http://putian.huanxi.me/
电脑和手机网页浏览器都可以访问
2、输入“重庆”,点击查询,就会出现重庆地区所有莆田系医院名单大全


重庆当地莆田系医院一共23条结果,如果发现不齐全,可以到查询系统上提交反馈。
魏则西与莆田系医院的那些事
魏则西,男,二十一岁,生前就读于西安电子科技大学,计算机专业学生,因身患滑膜肉瘤去世。魏则西曾经的梦想是每天玩命学习,每天取得巨大的进步,大四之后去美国好好学学计算机,那会是他人生最大的幸福。
滑膜肉瘤是一种恶性肿瘤,目前尚无有效治疗手段。魏则西是家中独子,父母倾尽全力为他治病。辗转北京、上海、天津、广州各大肿瘤医院,得到的都是坏消息。
魏则西在百度搜索疾病信息,第一条结果是某武警医院(武警北京总队第二医院)的所谓「生物免疫疗法」。魏则西一家人在北京见到了这家武警医院的李姓主任,李主任言:这个技术不是他们的,是斯坦福研发出来的,他们是合作,有效率达到百分之八九十。看着魏则西的各种报告单,李主任对魏则西父母说:保二十年没问题。正所谓典型的套路:「病很重,能治好,得花钱」。
魏则西一家人求医心切,但也会有所顾虑,这不会是骗人的吧?不过一看这的确是一家三甲医院,魏则西还专门查了一下这个医生,这个李主任还上过中央电视台,不止一次,中央电视台十套节目。会是假的吗?你看,百度、三甲医院、中央台,还是斯坦福的技术,这些应该没有问题了吧。
魏则西一家计算了一下,家里的钱不够,又找亲戚朋友借钱,一共在这家医院花了二十多万,结果是,病情迅速恶化,几个月就转移到了肺,医生当时说我恐怕撑不了一两个月了,如果不是因为后来买到了靶向药,恐怕就没有后来了。
魏则西父亲去找该医院李主任说理,还是那家医院,同样是门诊,他的话此时变成了「概率」,说从来没有向任何人做过保证,应该接着做他们这里的治疗,说做多了就有效果了,最初的承诺是是三次就可以控制很长时间…
魏则西后来在知乎上也认识了非常多的朋友,其中有在美国的留学生,在 Google 帮魏则西查询,又联系了很多美国的医院,才把问题弄明白,这个所谓的「生物免疫疗法」在国外因为有效率太低,在临床阶段就被淘汰了,现在美国根本就没有医院用这种技术,可到了国内,却成了「最新技术」,各种欺骗。这是人性最大的恶。
2016 年 4 月 12 日,魏则西父亲代他在知乎留言,「我是魏则西的父亲魏海全,则西今天早上八点十七分去世,我和他妈妈谢谢广大知友对则西的关爱,希望大家关爱生命,热爱生活。」
这个世界每天都有人死亡。魏则西的死对于家人来说是莫大的悲痛,但对于旁人来说,不过是这个世界随机发生的一件事情而已。这个世界还会有更多的魏则西,在遇到病痛的时候遇到骗子,最后人财两空。
魏则西去世后,网友在网络上质疑百度并且迅速发酵,百度公司被迫公开回应试图撇清关系,「我们第一时间进行了搜索结果审查,该医院是一家公立三甲医院,资质齐全。」并且迅速清理了相关广告(百度一向善于这么干),如果现在去搜索相关信息,结果已经跟魏则西所搜索的不一样了。
时间永是流逝,网络依旧太平。更何况,网民是健忘的,毕竟,卖贴吧事件也没过去几天。
你在百度上搜索各种疾病,能看到比比皆是的所谓「新疗法」「最新技术」「国家专利」,打广告的无一例外都是骗子。当然,提供这些神奇疗法的机构无一例外都是所谓的「资质齐全」,他们有合法的行骗资格。
凡做过的必然留下痕迹,我相信即使有人控制信息入口也一样做不到抹掉所有证据。网友西乔女士曾经评论到:「百度控制着普通人接触信息时代的入口,却把路标指向邪恶欺骗的世界。它让人们对互联网世界失去信任、对技术失去尊重、在使用这个时代最先进的知识/信息获取方式时感到恐惧。加剧了信息占有乃至智识上的不平等。这种对弱势群体对普通大众的经年累月的作恶,是最深的恶。」这句话说得真好,希望自诩百度价值观最高尚的李彦宏先生能看到这句话,并且有所反思。
作恶的不止百度一家,缺乏有效的监督,相关的法规缺失,才会让这些骗子医院至今还在招摇撞骗。这个链条上的所有人都有罪恶,绝非用一句「资质齐全」的借口就可以免责的。即使这样的说辞能骗过一部分人,但你们内心里没有愧疚吗?那些骗子做推手并且毫无愧疚的人,你们确信自己有一天不会被骗吗?你们的亲戚朋友不会被骗吗?你们的下一代不会被骗吗?
你能动用公关力量删掉这篇文章,你能管住诸多网友的悠悠之口吗?
魏则西在患病后短期好转的时候还曾想过「如果到时候能去微软、Google、BAT 之类的公司,或许可以双倍返还当年的捐款」,遗憾的是,这里面的有些公司不值得你去,因为就是他们在把你这样的人推向深渊。
以当前医学发展水平,有些疾病是无法救治的,但却有人利用患者以及家属的心理弱点,抛出根本不可能的救命稻草来榨取他们的钱财,这是这个社会的病。我无法想象魏则西父母得知被骗后的心情。
如果我们每个人不能对医疗和健康知识有个基本的认知,还会有更多的魏则西被骗。
如果那些作恶的信息提供商不能被监督不能被严惩,还会有更多的魏则西被骗。
如果那些骗人的医疗机构没有得到法律严惩,还会有更多的魏则西被骗。
不要让自己变成下一个魏则西。